ТУ 4228-054-22136119-2005
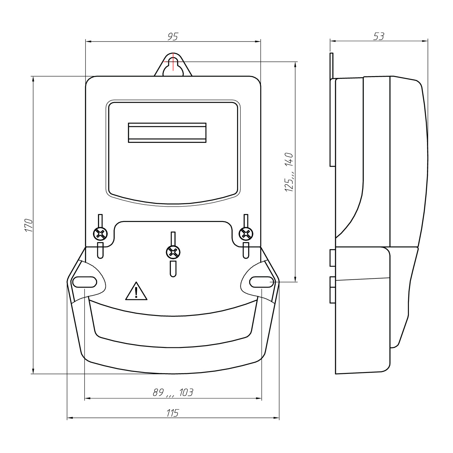
Однофазный электросчетчик серии «СЕ».
Устанавливается на щиток.
Осуществляет измерение активной энергии в однофазных двухпроводных цепях переменного тока. В качестве датчика тока используется шунт.
Видео о продукте
Нормативно-правовое обеспечение
- ГОСТ 31818.11-2012 (IEC 62058-11-2012)
- ГОСТ 31819.21-2012 (IEC 62058-21-2012)
- Сертифицирован и внесен в Государственный реестр средств измерений РФ.
Характеристики надежности
- Средняя наработка на отказ — 220 000 часов.
- Межповерочный интервал — 16 лет.
- Средний срок службы — 30 лет.
- Гарантийный срок (срок хранения и срок эксплуатации суммарно) - 5 лет с даты выпуска для счетчиков, произведенных до 01.05.2019 г.
- Гарантийный срок (срок хранения и срок эксплуатации суммарно) - 7 лет с даты выпуска для счетчиков, произведенных c 01.05.2019 г.
Особенности электросчетчика
- Корпус S6 предназначен для монтажа на плоскую поверхность.
- Исполнение с жидкокристаллическим дисплеем обеспечивает максимальную защиту от воздействия магнитом.
- Механическое отсчетное устройство имеет магнитный экран и стопор обратного хода.
- Наличие стандартного и оптического телеметрического выхода.
- Световой индикатор работы.
- Наличие шунта в качестве измерителя тока делает счетчик устойчивым к электромагнитным воздействиям.
- Устойчивость к климатическим, механическим и электромагнитным воздействиям.
| Модификация |
Счетчик однофазный однотарифный активной электрической энергии CE 101 S6 145
Технические характеристики модификации: |
||
| CE101 | Модель | |
| S6 | Тип корпуса | |
| 1 | Класс точности | 1 |
| 4 | Номинальное напряжение, В | 230 |
| 5 | Базовый (максимальный) ток, А | 5 (60) |
| Тип отсчетного устройства | Дисплей (ЖКИ) | |
Счетчик однофазный однотарифный активной электрической энергии CE 101 S6 145 M6
Технические характеристики модификации: |
||
| CE101 | Модель | |
| S6 | Тип корпуса | |
| 1 | Класс точности | 1 |
| 4 | Номинальное напряжение, В | 230 |
| 5 | Базовый (максимальный) ток, А | 5 (60) |
| М6 | Тип отсчетного устройства | Шестиразрядное механическое |
| CE101 S6 | X | X | X | X | |||||
|---|---|---|---|---|---|---|---|---|---|
Тип отсчетного устройства: М6 - Шестиразрядное механическое (без буквы) - Дисплей (ЖКИ) | |||||||||
Базовый (максимальный) ток: 5 - 5 (60) А 8 - 10 (100) А | |||||||||
Номинальное напряжение: 4 - 230 В | |||||||||
Класс точности: 1 - 1 | |||||||||

