рус / еng
Ставропольский край

Выберите регион

8-800-200-75-27

Счетчик электроэнергии трехфазный многотарифный

CE301M-R33

Трехфазный многотарифный электросчетчик серии «СЕ».
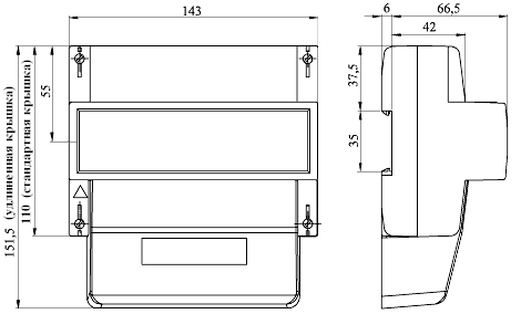
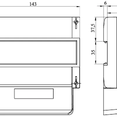
Счетчик комплектуется двумя крышками (для установки в шкаф или на рейку).
Осуществляет измерение и учет активной электрической энергии в трехфазных четырехпроводных цепях переменного тока в одном направлении. Интеграция в систему учета электроэнергии за счет удаленного сбора данных по цифровому интерфейсу, внешним модулям связи и оптическому порту.

Снято с производства

Счетчик обеспечивает

  • Точность хода встроенных часов 0,5 сек/сутки.
  • Сохранение расчетных показателей и констант пользователя не менее 16 лет, ход часов и ведение календаря - не менее 10 лет при отсутствии внешнего питающего напряжения.
  • Ведение 6 журналов событий по 20 записей и 2 журналов по 40 записей.
  • Точность измерений при изменении направления тока в фазной токовой цепи.
  • Управление нагрузкой с использованием УЗО (или внешнего коммутационного аппарата) по команде диспетчера с индикацией режима отключения.
  • Защиту памяти данных и памяти программ от несанкционированных изменений с помощью кнопок или по интерфейсу (два пароля для двух уровней доступа, аппаратное разрешение (кнопка или другое устройство), электронная пломба с фиксацией в журнале событий).
  • Индикацию данных на ЖКИ индикаторе с заданной периодичностью
    (Т=5-255 сек.) или пролистывание с помощью элементов управления (кнопки) на лицевой панели.
  • Питание как от фазного напряжения (наличие 1 фазы), так и от линейного (обрыв 0).
  • Сигнализацию об отклонении от лимитов по мощности и потреблению.

Нормативно-правовое обеспечение

  • Соответствует ГОСТ Р 52320-2005.
  • Соответствует ГОСТ Р 52322-2005.
  • Соответствует ГОСТ Р 52323-2005.

Характеристики надежности

  • Минимальная наработка на отказ — 160 000 часов.
  • Межповерочный интервал — 16 лет.
  • Средний срок службы — 30 лет.
  • Гарантийный срок (срок хранения и срок эксплуатации суммарно) — 3 года с даты выпуска.

Функциональные возможности

Счетчик обеспечивает учет и вывод на индикацию:
  • количества потребленной активной электроэнергии нарастающим итогом суммарно и раздельно по 8 тарифам на конец месяца и за 12 предыдущих месяцев;
  • количества потребленной активной электроэнергии нарастающим итогом суммарно и раздельно по 8 тарифам на конец суток за 45 суток;
Счетчик обеспечивает задание следующих параметров:
  • текущего времени и даты;
  • разрешение перехода на "летнее" время (с заданием месяцев перехода на "зимнее", "летнее" время);
  • до 16 дат начала сезона;
  • до 16 зон суточного графика тарификации и до 12 графиков тарификации;
  • до 32-х исключительных дней (дни, в которые тарификация отличается от общего правила и задается пользователем);
  • лимитов по потреблению и мощности по каждому тарифу.

Особенности электросчетчика

  • Оптический интерфейс.
  • Интерфейс RS485.
  • Устойчивость к климатическим, механическим и электромагнитным воздействиям.
  • Реле сигнализации.
  • Малое собственное энергопотребление.

Примечания

В счетчике имеется испытательное выходное устройство - гальванически изолированное основное передающее устройство. Индикатор функциональности, оптический испытательный выход.
Показатели Величины
Класс точности 1
Число тарифов 8
Частота измерительной сети, Гц 50 ± 2,5 (60±3,0)
Номинальное напряжение, В 3х230/400
Базовый (максимальный) ток, А 5 (60) 10 (100)
Порог чувствительности , мА 20
Потребляемая мощность параллельной цепи, не более, В*А (Вт) 9 (1,0)
Полная потребляемая мощность последовательной цепи, не более, В*А 0,1
Диапазон рабочих температур, °С от минус 40 до +70
Габаритные размеры, не более, мм 143 х 151,5 х 72,5
Масса, не более, кг 1
СЕ301M Х X Х Х X-Х
Тип отсчетного устройства:
ЖК-дисплей;
Интерфейсы и дополнительные опции:
A – RS-485;
E – RS-232;
F – возможность подключения РИП;
K – TM-выход;
J – оптопорт;
P – PLC-интерфейс;
P1–P9 - PLC-интерфейс, различные исполнения;
Q – реле управления;
R1 – радиоинтерфейс со встроенной антенной;
R2 – радиоинтерфейс с разъемом под внешнюю антенну;
R3–R9 – радиоинтерфейс, различные исполнения;
S – реле сигнализации;
V – контроль вскрытия крышки;
Z – с расширенным набором данных.
Базовый (максимальный) ток:
5 - 5 (60) А;
6 - 5 (100) А;
8 - 10 (100) А
Номинальное напряжение:
4 - 230В
Класс точности по ГОСТ Р 52322–2005:
1 - 1
Тип корпуса:
R3Х – для установки на рейку;
S3Х – для установки на щиток.
Примечание: Х указывает номер конструктивного исполнения счетчика.

Похожие продукты

Технические характеристики

Все технические характеристики

Описание

Документация и ПО

Вся документация

Выберите модификацию для сравнения:

Назад